О современных конструкциях отказоустойчивых сумматоров сообщается в4,5,17. Они были разработаны с использованием нескольких технологий. В большинстве проектов использовался тот или иной тип избыточности: (а) временная избыточность, (б) двойная модульная избыточность, (в) тройная модульная избыточность, (г) аппаратная избыточность, (д) повторное использование аппаратного обеспечения, чувствительное к ширине операнда (OWHR).
Методы проектирования пиков и сумматоров основаны на этих типах избыточности. Некоторые сумматоры способны обнаруживать ошибки, другие могут их исправлять, а третьи могут делать и то, и другое. Ниже описаны четыре метода суммирования ошибок и обнаружения.
- Методы обнаружения неисправностей
- Самопроверяющийся сумматор с использованием XNOR, полного сумматора и логического выражения.
- Самопроверяющийся полный сумматор с использованием XNOR, полного сумматора и функционального блока.
- Методы исправления дефектов
- Сумматор с самовосстановлением (SR) с использованием полного сумматора и мультиплексоров.
- Самовосстанавливающийся сумматор с использованием самопроверяющегося полного сумматора, мультиплексоров и вентилей НЕ.
Методы обнаружения неисправностей
Самопроверяющийся сумматор с использованием XNOR, полного сумматора и логического выражения.
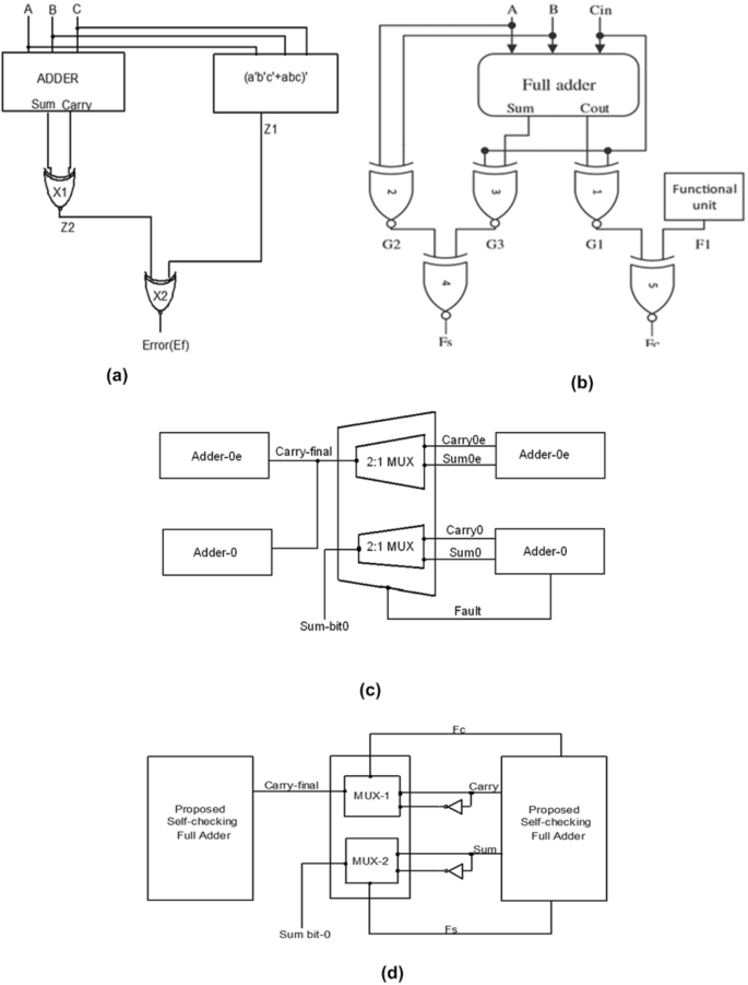
Самопроверяющийся сумматор был разработан Васудеваном.17. Эта конструкция позволяет различать исправные состояния и застрявшие неисправности в схеме сумматора. Система проверки неисправностей включает в себя вентили XOR, мультиплексор устранения неисправностей, два сумматора и два устройства проверки рельсов. На рисунке 1а показан самопроверяющийся сумматор17. Z1 и Z2 — выходы контроллера, и если они одинаковы, то схема исправна. В случае отсутствия неисправности Z1 и Z2 оба равны нулю или оба равны единице. Если на Z1 низкий уровень, а на Z2 высокий или наоборот, цепь также считается исправной. Хотя эта конструкция может обнаруживать неисправности в одной сети, она не может определить место неисправности в сумматоре. Устранить неисправности также нецелесообразно, так как требуется замена всего узла. Дополнительные ограничения включают в себя неспособность обнаруживать двойные неисправности или ошибочное транспортное распространение, а также дорогостоящее аппаратное обеспечение.
(А) Самопроверяющийся сумматор с использованием XNOR, полного сумматора и логического выражения (б) Самопроверенный полный сумматор с использованием XNOR, полного сумматора и функционального блока; (с) сумматор с самовосстановлением (SR) с использованием полного сумматора и мультиплексоров; (д) самовосстанавливающийся сумматор с использованием самопроверяющегося полного сумматора, мультиплексоров и вентилей НЕ.
Самопроверяющийся полный сумматор с использованием XNOR, полного сумматора и функционального блока.
Схема полного сумматора с самопроверкой предназначена для обнаружения одной или нескольких неисправностей и точного определения их местоположения. Были реализованы сумматор выбора переноса (CSA) и сумматор переноса пульсации (RCA). CSA является самым быстрым сумматором и требует меньше транзисторов по сравнению с другими конструкциями, тогда как RCA проще реализовать, но требует больше времени на расчеты. В этой конструкции выходные сигналы переноса и суммирования измеряются и проверяются неоднократно для обнаружения каких-либо неисправностей на выходах. Подробная схема сумматора с самоконтролем (СК) показана на рисунке 1б. Приведены уравнения схемы проверки неисправностей для сумматора.
$${\text{G}}2 = {\text{A}} \odot {\text{B и G3 }} = {\text{ Cin}} \odot {\text{Sum}}$$
(1)
Проверка наличия ошибок на суммарном выходе сумматора,
$${\text{F}}_{{\text{s}}} = {\text{ G}}2 \odot {\text{G}}3$$
(2)
$${\text{G}}1 = {\text{Cin}} \odot {\text{Cout}}\;{\text{et}}\;{\text{ F}}1 = \, \ left ({{\text{ABC}}^{\prime } + {\text{A}}^{\prime } {\text{B}}^{\prime } {\text{C}}} \right )^{\prime }$$
(3)
Проверка неисправностей транспортного выхода сумматора,
$${\text{F}}_{{\text{c}}} = {\text{G}}1 \odot {\text{F}}1$$
(4)
Для устранения ошибочной ситуации на выходе переноса используются эквивалентные функциональные блоки (FU) и вентили XNOR. XNOR1 и выход FU предоставили входные данные XNOR-5 для обнаружения неисправного состояния.
Методы исправления дефектов
Сумматор с самовосстановлением (SR) с использованием полного сумматора и мультиплексоров.
Сумматор SR, о котором сообщил Мухаммед Али Акбар5обнаруживает неисправности и определяет местонахождение одиночных и множественных неисправностей. Некоторые ограничения предыдущей конструкции сумматора17 были адресованы. Эта конструкция включает в себя устройство проверки рельсов, полный сумматор и два вентиля XNOR для обнаружения неисправностей. Он использует две схемы сумматора для исправления ошибок в сумматоре SR. Вентиль XNOR (X1) сравнивает выходные данные переноса и сумму полного сумматора. Когда все входы одинаковы, выходы переноса и суммы совпадают. Если один вход отличается от других, выходы переноса и суммы будут разными. Второй вентиль XNOR (X2) гарантирует бесперебойную работу. Недостаток конструкции сумматора обозначен Ef, как показано на рисунке 1а. Сумматор обнаружения ошибок может обнаружить две или более ошибок, тогда как сумматор исправления ошибок идентифицирует эти ошибки и требует замены неисправной схемы полного сумматора другими полными сумматорами, как показано на рисунке 1c. Эта конструкция требует дополнительных полных сумматоров для обеспечения бесперебойной работы. Однако он не может обнаружить неисправности, когда одновременно возникают две неисправности, в результате чего сумматор коррекции неисправностей отображает исправный выходной сигнал (Ef), несмотря на наличие ошибок. Сумматор SR5 недостаточно для устранения этих дефектов, что делает конструкцию менее надежной. Появление двойных дефектов является основным ограничением этой конструкции.
Самовосстанавливающийся сумматор с использованием самопроверяющегося полного сумматора, мультиплексоров и вентилей НЕ.
Отказоустойчивый сумматор (FT) используется для восстановления безошибочной работы путем обнаружения неисправностей с использованием метода самопроверки сумматора выбора переноса (CSA). Конструкция сумматора ФТ обеспечивает устранение различных неисправностей, делая конструкцию безошибочной. По сравнению с другими подходами, конструкция самовосстанавливающегося сумматора требует минимальной площади поверхности.17. Этот метод работает по следующему принципу: выходы переноса и суммы имеют либо единицу, либо ноль, в зависимости от входов схемы сумматора. Если Fs равен единице, в конструкции сумматора возникла ошибка, и неисправность исправляется с помощью мультиплексора, который выбирает выход инвертированной суммы. Аналогично, когда Fc равен единице, это означает, что неисправность повлияла на выход переноса, и мультиплексор выбирает инвертированный выход переноса. Уравнения этого плана:
$${\text{Carry}} — {\text{final }} = \, \left[ { \, \left( {{\text{Carry}}} \right)^{\prime } \cdot {\text{F}}_{{\text{c}}}^{\prime } } \right] \, + \, \влево[ {{\text{ Carry}} \cdot {\text{F}}_{{\text{c}}} } \right]$$
(5)
$${\text{Carry}} — {\text{final }} = {\text{carry}} \odot {\text{F}}_{{\text{c}}}$$
(6)
Таким же образом,
$${\text{Sum bit}} — 0 \, = {\text{ Sum}} \odot {\text{F}}_{{\text{s}}}$$
(7)
Работа усовершенствованной конструкции сумматора зависит от выходов Fs и Fc, обеспечиваемых ячейкой сумматора SC. Если Fs равен нулю, это указывает на исправность выходного сигнала суммы. Конечный выход суммы выбирается MUX. Мультиплексоры имеют передающие вентили. Если Fc равен нулю, это указывает на то, что во время выполнения сумматора было достигнуто состояние безошибочности. Мультиплексор 2:1, а НЕ вентиль сумматора, используется для безошибочного вывода с обратным переносом. Последний результат получается, как показано на рисунке 1d. В4используется самопроверяющийся сумматор с рисунка 1b, как показано на рисунке 1d.
В4если на выходе сумматорной схемы имеется неисправность, например, когда выход переноса для 1-битного полного сумматора должен быть 00010111 для входов A = 00001111, B = 00110011 и Cin = 01010101, но вместо этого мы получаем 00101011 из-за неисправности, это указывает на неисправность в выходе переноса, в то время как сумма остается без изменений. Для входов A, B и Cin, таких как 010, 011, 100 и 101, сумма верна, но перенос ошибочен. Из таблицы 1 и рисунка 1b видно, что Fc = 1 1000011 и Fs = 1 0000001 для ошибочного выхода переноса Cout = 00101011. Однако это противоречит условию, в котором Fc = 1 или Fs = 1 указывает на значение по умолчанию. Предлагаемая конструкция сумматора FC преодолевает это ограничение.
